
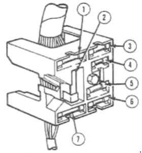
| Numer |
Prąd(A) |
Funkcja |
| 1 | 15 |
Włącz sygnały, lampy pomocnicze, spryskiwacz przedniej szyby, radio, odtwarzacz taśm stereo
|
| 2 | 20 |
Ostrzeżenie przed uszkodzeniem pasa bezpieczeństwa akcesoriów, ostrzeżenie o hamulcu postojowym, defogger tylnej szyby (Hardtop)
|
| 3 | 14 |
Podgrzewacz i odmrażacz
|
| 30 |
Klimatyzacja
|
|
| 4 | 14 |
Kontrola emisji, elektromagnetyczny gaźnika
|
| 5 | 4 |
Lampki na instrumenty i klastry, sterowanie radiowe, nagrzewnice i klimatyzatory, zegar, lampa na popiół
|
| 6 | 14 |
Dzięki uprzejmości, przyrząd, drzwi, kopuła, mapa, schowek, słupek "C", kluczyk zapłonu, brzęczyk ostrzegawczy, karma zegarowa, lampa bagażnika, reflektor "na" Przypomnienie Buzzer, zapalniczka cygarowa
|
| 7 | 20 |
Ostrzeżenie awaryjne, Klakson
|


